A BMW tem estado na vanguarda do desenvolvimento de sistemas de faróis de curva há vários anos e já apresentou várias formas de maximizar o desempenho da luz, mesmo quando as motos se inclinam. A última ideia, revelada num novo pedido de patente, inspira-se nos sistemas de gimbal utilizados nas câmaras e pode abrir a porta a uma tecnologia de faróis ainda mais avançada.
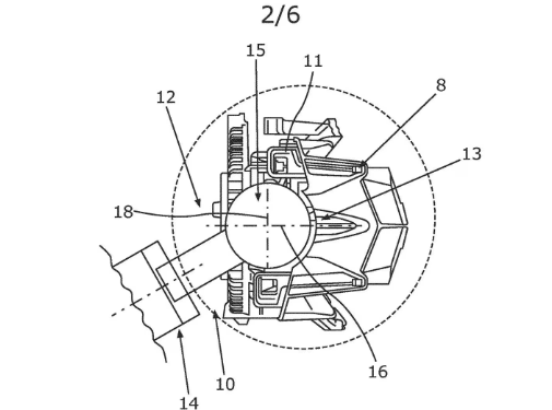
A BMW já criou faróis que se podem mover dentro das suas caixas para contrariar a inclinação e a oscilação. A opção Headlight Pro adaptativa para curvas na R 1250 GS, por exemplo, permite que o farol baixo rode até 35 graus em cada direção para compensar a inclinação durante as curvas e corrige as variações de inclinação resultantes de alterações na altura de condução e na carga. Mas o mais recente pedido de patente leva a ideia um passo à frente, ligando toda a unidade do farol a um gimbal de três eixos que é essencialmente idêntico aos sistemas que estão amplamente disponíveis para manter as câmaras ou smartphones estáveis durante as filmagens.
O primeiro eixo permite que o farol se mantenha nivelado quando a moto se inclina. O segundo compensa a inclinação para o manter nivelado da frente para trás, e o terceiro permite que a luz gire fisicamente em direção ao vértice de uma curva, iluminando exatamente a parte da estrada para a qual se está a dirigir. Todo o sistema é controlado pela mesma unidade de medição inercial (IMU) que já se encontra no coração de muitas motos e que é utilizada para monitorizar a inclinação, a oscilação e a rotação da máquina. Tal como os gimbals utilizados para as câmaras, o resultado deve ser capaz de manter o farol assustadoramente estável, mesmo quando o resto da moto se move por baixo dele.


A BMW afastou-se da ideia de mover fisicamente o farol durante as curvas com a nova R 1300 GS. Nessa máquina, o sistema opcional de luz de curva Headlight Pro utiliza uma matriz de LED, ligando e desligando luzes individuais para apontar o feixe na direção certa quando a moto se inclina. Mas há um elemento adicional no novo pedido de patente que explica o regresso a uma unidade de farol móvel: há também uma câmara montada no interior da luz.













