A General Motors surpreende a indústria ao registar um novo patente para um motor a dois tempos, reacendendo o debate em torno de um formato que muitos entusiastas continuam a venerar. Numa altura em que a maioria dos grandes construtores investe quase exclusivamente em eletrificação e hidrogénio, é inesperado ver um gigante como a GM explorar soluções mecânicas tradicionais com abordagens modernas.
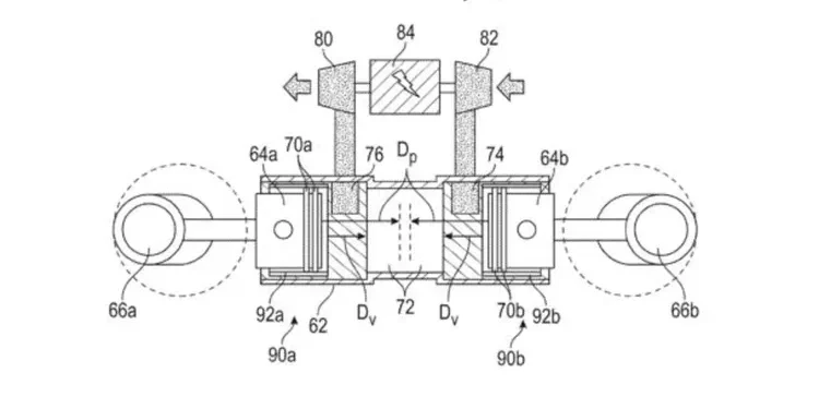
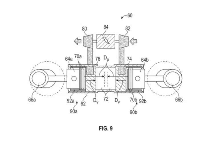
O novo conceito procura resolver alguns dos problemas que tornaram os dois tempos menos viáveis nos últimos anos, nomeadamente a eficiência, as emissões e a durabilidade interna. Em vez dos tradicionais portas fixas no cilindro, operadas por reeds ou válvula rotativa, o sistema da GM utiliza uma manga móvel que funciona entre o pistão e a parede do cilindro. Esta manga movimenta-se em sincronização com o pistão, permitindo a entrada de ar fresco, selando o conjunto para a combustão e depois abrindo para expulsar os gases de escape.

O movimento da manga é controlado por um atuador, e o desenho inclui ainda uma solução engenhosa para reduzir atrito e desgaste: a manga auxilia as próprias anilhas do pistão ao passarem pela zona das portas, evitando que toquem nas aberturas e causem danos. Essa abordagem promete maior fiabilidade e funcionamento mais suave.
O patente não esclarece se o sistema poderá permitir uma forma de temporização variável, algo que poderia tornar o dois tempos moderno ainda mais versátil. A hipótese é plausível: bastaria a manga abrir as portas em diferentes graus consoante o regime do motor para optimizar o enchimento em toda a faixa de rotações.
Ainda assim, convém manter o entusiasmo moderado. A história recente está cheia de supostos salvadores dos dois tempos que nunca passaram da fase conceptual. Mas ver um nome tão pesado como a General Motors a investir tempo e recursos numa solução destas reacende esperanças. Se este tipo de tecnologia chegar aos automóveis, quem sabe se alguns fabricantes de motos não terão finalmente a coragem de seguir o mesmo caminho.

Source: Visordown














