Os poisa-pés ajustáveis estão longe de ser uma ideia nova, mas mesmo nas motos que os têm, o processo de ajuste envolve normalmente chaves inglesas e de parafusos. Por isso, um novo pedido de patente da BMW, que apresenta poisa-pés que podem ser ajustados em segundos sem ferramentas, é interessante por si só. Mas a ideia surgiu especificamente graças ao desenvolvimento de motos eléctricas por parte da empresa – juntando-se a um arquivo crescente de provas de que uma moto BMW eléctrica está perto de chegar.
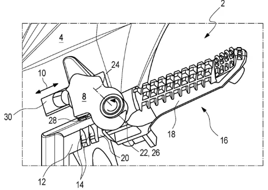
O sistema ilustrado na nova patente é incrivelmente simples – o tipo de sistema que nos faz pensar porque é que ainda não foi feito. Mostra os poisa-pés dos condutores que são montados num suporte com ranhuras que lhes permite deslizar, mas não é necessário desapertar os parafusos para os mover. Em vez disso, existe um conjunto de ranhuras em forma de dentes serrados no suporte de alumínio por baixo da ranhura de ajuste e um pino que se estende para dentro, diretamente oposto à própria patilha, para encaixar na mesma. A própria patilha é articulada como as da maioria das motos. Quando a patilha é estendida para a sua posição normal, o pino oposto encaixa num dos encaixes, impedindo-a de deslizar ao longo da ranhura do suporte. Para ajustar a patilha, basta dobrá-la para cima, soltando o pino das ranhuras para que toda a unidade possa deslizar ao longo da sua ranhura de ajuste.


O que as ilustrações mostram é um conjunto de pinos montados numa secção do quadro traseiro em alumínio, com o pivô do braço oscilante claramente visível e dois orifícios para parafusos para montagem na secção principal do quadro da moto. É uma disposição bastante comum, mas não corresponde a nenhuma das motos da gama atual da BMW. O que corresponde bastante bem é a patente de uma moto eléctrica de grandes dimensões sobre a qual escrevemos no início deste ano, que apresentava praticamente a mesma área de pivô do braço oscilante aparafusada, ligada a uma caixa de bateria grande e estrutural.

É uma prova incontestável de que uma moto eléctrica da BMW se juntará em breve à gama da empresa, juntamente com a sua atual gama de scooters eléctricas CE? Não exatamente. Mas quando combinado com outras sugestões, que vão desde o conceito da moto eléctrica Vision DC de 2019 da empresa a uma série de pedidos de marca registada para motos eléctricas com o nome “DC” e pedidos de patente para vários designs de motos eléctricas, torna-se cada vez mais claro que podemos esperar uma moto BMW equipada com bateria mais cedo ou mais tarde.














