A Yamaha submeteu recentemente um pedido de patente para um triciclo que parece ser uma evolução da Niken GT… e que se poderá inclinar sozinho.
A Motociclismo consultou os documentos submetido recentemente, respeitantes a um ‘veículo inclinável’ – com duas rodas à frente e uma roda atrás.
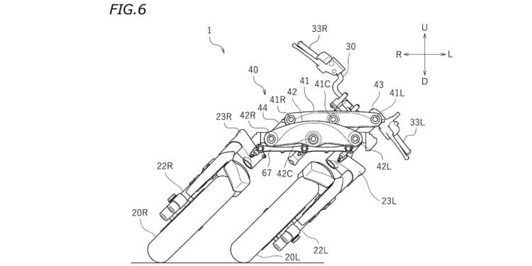
Este inclui motores independentes para cada roda dianteira, que podem ter um papel na inclinação do triciclo e ser acionados ou pelo condutor, ou automaticamente mediante os dados recolhidos por sensores.
Segundo a descrição, ‘é difícil conceber um veículo inclinável de modo a que a força de sustentação seja sempre constante independentemente da velocidade e do rádio de curva’ – enquanto vários condutores referem que a força de sustentação do guiador se mantenha constante.
Por outro lado, também há condutores que preferem uma força de sustentação variável, e não é possível conceber um veículo inclinável que mantenha essa força constante ou variável conforme as preferências individuais de quem conduz.
E aí surge a solução que esta patente quer dar: ‘Se as forças motrizes da roda dianteira esquerda e da roda dianteira direita puderem ser controladas independentemente umas das outras, é possível efetuar um controlo de variação da força de sustentação dependendo da preferência do condutor’. Assim, a proposta dos japoneses pretende ‘fornecer um veículo inclinável e um método para controlar um veículo inclinável tendo uma roda da frente esquerda disposta para a esquerda relativa ao pivot e uma roda da frente direita disposta para a direita do pivot possam ser controladas independentemente uma da outra’.
Entre os sensores, podem incluir-se um detetor de ângulo de inclinação do quadro, um sensor de velocidade e um dispositivo de controlo ligado aos dois anteriores para gerir o motor de cada roda com base no ângulo de inclinação e na velocidade do veículo. Também poderá haver um sensor que detete um objeto à frente – como um veículo que circule à frente ou uma faixa de rodagem marcada na estrada. É possível avisar o condutor para a presença desse objeto quando o veículo inclinável esteja a circular a uma velocidade relativamente alta.











