A propulsão elétrica está a chegar também às motos desportivas, e a Yamaha pode estar a trabalhar numa versão elétrica da R1 – pelo menos a julgar por patentes consultadas pela revista Motociclismo, publicadas no European Patent Office.
O construtor de Iwata descreve nos documentos um sistema de arrefecimento para um pacote de bateria, integrando-o numa moto super desportiva com traços similares aos da R1.
O bloco só suporta parcialmente a carga, estando suspenso num quadro de estrutura tubular. Depois, há placas de alumínio para o sistema de transmissão, que servem como suportes do motor e do braço oscilante. O motor está numa posição central, montado numa posição alta no quadro, com pelo menos uma relação de transmissão ou caixa de velocidades. A tração é à roda traseira.
A suspensão traseira parece não ser a mais adequada, com a articulação direta do amortecedor: que resulta num comportamento da moto que deixa algo a desejar, sendo que construtores como Ducati ou KTM optam agora por sistemas com link de suspensão progressiva.
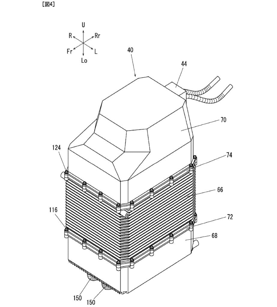
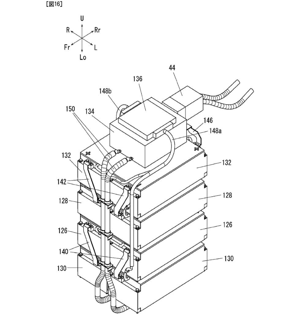
Mais complexa é a refrigeração a líquido para as células de baterias (um total de oito módulos, facilmente substituíveis). Com o design de placas de refrigeração horizontais, o arrefecimento deverá ser nos pólos das células, um indicador de desempenho elevado. O tamanho do bloco de bateria sugere que a capacidade deve rondar os 20 kWh e a tensão entre 700 e 800 volts.














